ESILEHELE TEHASED OÜ RET UUDISED

PUNANE RET

Andmed mudelite ja toodangumahtude kohta pärinevad tehase Punane Ret peakonstruktori 1968-93 Enn-Olav Remmelga käsikirjalisest materjalist, mis on hoiul Eesti Ringhäälingumuuseumis, ja Jüri Raudseppalt.



661, VV-661, VV-662, VV-663, VV-663-2 - II klassi raadiovastuvõtjad

1945-55 kokku 156 032 eksemplari:
  1945 - 19*
  1946 - 372*
  1947 - 2127
  1948 - 8579
  1949 - 9880
  1950 - 15 907
  1951 - 20 709
  1952 - 27 019
  1953 - 26 250
  1954 - 25 559
  1955 - 19 611

*1945. ja 1946. a-l valmistati juhuslikke ja katseaparaate. VV-661 läks ametlikult tootmisse mais 1947, kui valmis esimene 100 aparaadist koosnev prooviseeria.


Mõned leheküljed raadiotehase Punane Ret aastaaruannetest 1946 ja 1947:
  1946. a. aruandele lisatud selgitus (1 lk) ja 1946. a. toodang (sh 1945. a. andmed, 1 lk);
  1947. a. aruandele lisatud selgitus (3 lk) ja 1947. a. toodang (sh 1946. a. andmed, 1 lk);
Rahvusarhiiv, Eesti Vabariigi Riiklik Statistikaamet, ERA.R-10.9.86 ja ERA.R-10.9.147


              


     

   

Tüüp 661
Nr 0025
1946?
Arvatavasti 1946. a-l valmistatud eelseeria. Võrreldes 1947. a. mais tootmisse läinud VV-661 tavaversiooniga on olulisi erinevusi nii disainis kui konstruktsioonis. Raadiol on samasugune skaala.
A. H. Tammsaare majamuuseumi ekspositsioonis, Tallinna Linnamuuseumi kogu.



Mudel: VV-661
Toide: võrk
Lambid: 6
Lainealad:
Võnkeringid:
Hind:

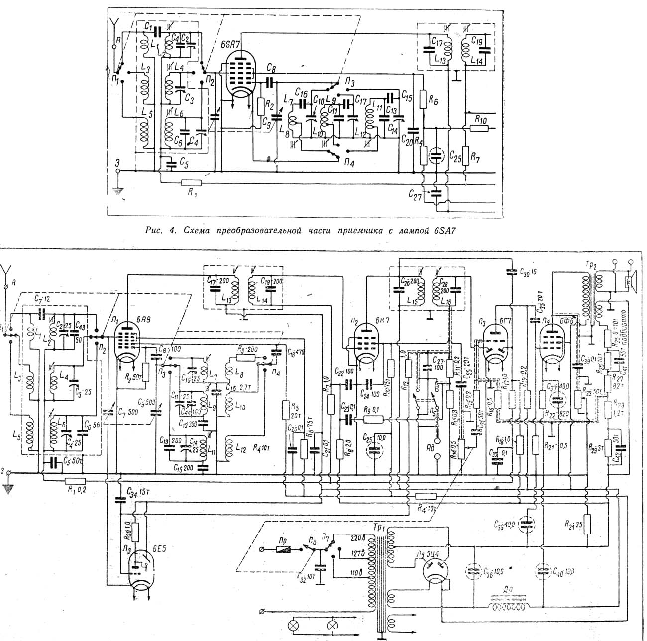
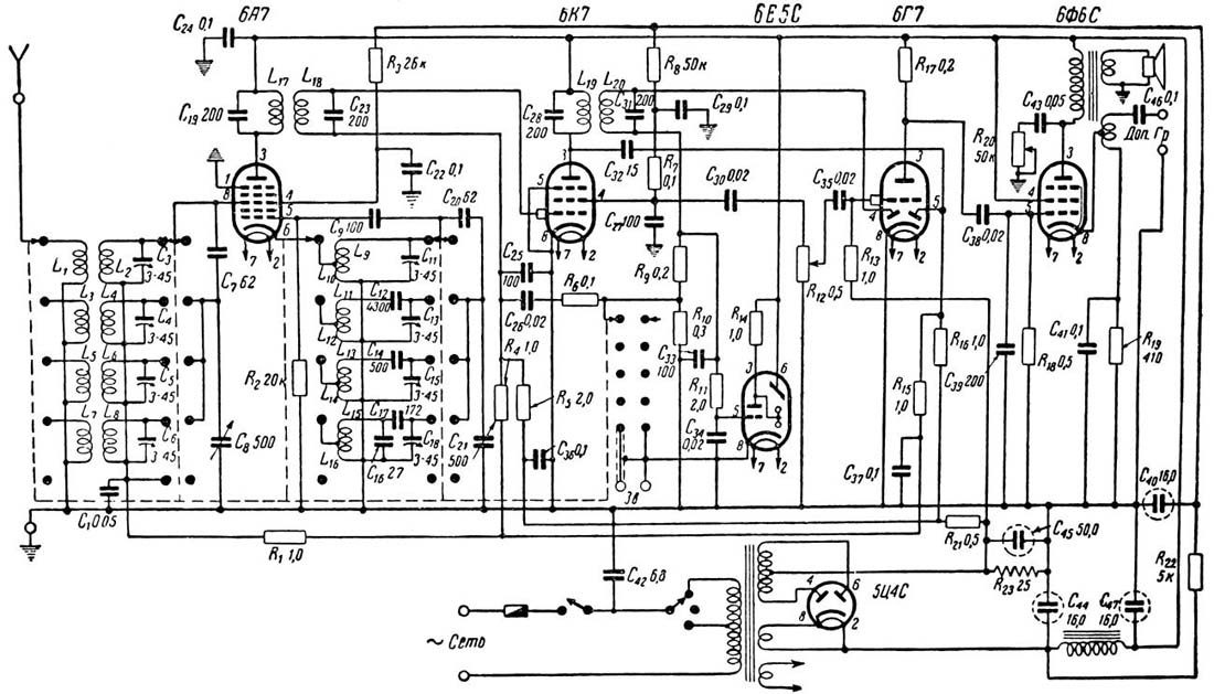
VV-661 skeem
Vitali Brusnikin /via Sergei Davidchik/



       

VV-661
Nr 423
1947
Skaalal Reti sõjaeelne "tiibadega" logo.
Kolm nuppu vahetatud, tagasein puudub.
Fotod: elravel[ät]hot.ee


 

VV-661
Nr 1075
1947
Skaalal Reti sõjaeelne "tiibadega" logo.
Tartu Linnamuuseumi kogu.




VV-661
Nr 2013
1947?
Omanik: vana.raadio[ät]hot.ee


        

VV-661
Nr 3228
1948?
Omanik: Sergei Davidchik, Läti
oldradio[ät]inbox.lv





VV-661
Nr 10614
1948
Erakogu.



Mudel: VV-662
Toide: võrk
Lambid: 6
Lainealad:
Võnkeringid:
Hind:



VV-662
Nr 0376?
Aparaat nn. esimesest seeriast (kast sarnane VV-661-le).
Eesti Ringhäälingumuuseumi kogu.




VV-662
Nr 1116
Nn. esimene seeria.
Omanik: Zenonas Langaitis, Leedu
Zenonas Langaitis - Radiomuseum




VV-662
Nr 2467
Nn. teine seeria.
Haruldasem eestikeelsete jaamanimedega skaalaga aparaat.
Erakogu.




VV-662
Nr 4202
Nn. teine seeria.
Eestikeelsete jaamanimedega skaalaga aparaat.
Omanik: vana.raadio[ät]hot.ee




VV-662
Nr 23019
Nn. teine seeria.
Enamlevinud skaalaga aparaat.
Erakogu.



VV-662
Nr 29115
Nn. teine seeria.
Enamlevinud skaalaga aparaat.
Omanik: Sergei Davidchik, Läti
oldradio[ät]inbox.lv



Mudel: VV-663
Toide: võrk
Lambid: 6
Lainealad:
Võnkeringid:
Hind:


Mudel: VV-663-2
Toide:
Lambid:
Lainealad:
Võnkeringid:
Hind:



VV-663-2
Nr 48462
Omanik: faradoy[ät]gmail.com


VV-663-2
Nr C75513
Kistler-Ritso Eesti Sihtasutuse kogust.


VV-663-2
Nr C75850
Omanik: Sergei Davidchik, Läti
oldradio[ät]inbox.lv

TALLINN P-2 - patareivastuvõtja

1950-52 kokku 16 301 eksemplari:
  1950 - 4116
  1951 - 11 528
  1952 - 657


Mudel: TALLINN P-2
Toide: patarei
Lambid:
Lainealad: 2
Võnkeringid:
Hind:



TALLINN P-2
Nr 04871
Kistler-Ritso Eesti Sihtasutuse kogust.



TALLINN P-2
Nr 06292
Mõnevõrra muudetud disainiga kastis.
Omanik: vana.raadio[ät]hot.ee



TALLINN P-2 kolme lainealaga prototüüp PV461


ESTONIA - raadiovastuvõtja


1955-56 kokku 1169 eksemplari



ESTONIA
1956
Nr 01169
Tõenäoliselt viimane Estonia raadiovastuvõtja!!
Erakogu.

ESTONIA (55) - radioola

1956-59 kokku 40 022 / 40 212 eksemplari:
  (1955 - 3)
  1956 - 8505
  1957 - 12 200
  1958 - 15 202
  1959 - 4111




ESTONIA (55) radioola
Nr C04231
Erakogu.


ESTONIA (55) radioola
Nr C09990
Omanik: Zenonas Langaitis, Leedu.
Zenonas Langaitis - Radiomuseum

ESTONIA-2 - radioola


1958-62 kokku 63 861 eksemplari:
  1958/59 - 10 917
  1960 - 16 890
  1961 - 18 179
  1962 - 17 875







ESTONIA-2 radioola
Nr 10812
Erakogu.



ESTONIA-3 - radioola

1962-64 kokku 23 717 eksemplari:
  1962 - 662
  1963 - 18 011
  1964 - 5044






ESTONIA-3 radioola
1964
Nr 789
Omanik: urti[ät]hot.ee - Raadiomuuseum

ESTONIA-3M - radioola

1964-66 kokku 59 224 eksemplari:
  1964 - 13 541
  1965 - 25 317
  1966 - 20 366




ESTONIA-3M radioola
Eesti Ringhäälingumuuseumi kogu.

ESTONIA-4 - radioola

1966-70 kokku 61 683 eksemplari:
  1966 - 3884
  1967 - 18 013
  1968 - ?
  1969 - ?
  1970 - ?


Teadaolevad radioolad Estonia-4:
Estonia-4E, Nr 00916-S (1966?, ingliskeelne skaala, eksportvariant?)
Estonia-4, Nr 03371-S (1966)
Estonia-4, Nr 56349-S (1969/70?)




ESTONIA-4E
(komplekt: eri aparaatide skaala (4E), kõlar ja shassii)
Erakogu: www.hot.ee/retroraadio

ESTONIA-STEREO - radioola

1969-73 kokku 34 474 eksemplari

 

ESTONIA-STEREO radioola
Omanik: urti[ät]hot.ee - Raadiomuuseum

Punane Ret tootis veel:

reproduktorid - 1946-49 kokku 15 742
ESTONIA-006-STEREO - radioola 1972-78 kokku 94 857
ESTONIA-008-STEREO - radioola 1978-82 kokku 45 263
REGATT (1980) - raadiosuveniir
ESTONIA-009-STEREO - radioola 1981-84 kokku 30 436
ESTONIA-010-STEREO - vastuvõtja 1982-92 kokku 13 121
ESTONIA-010-STEREO - eelvõimendi 1982-92 kokku 35 347
ESTONIA-010-STEREO - plaadimängija 1982-92 kokku 29 762
ESTONIA-010-STEREO - võimsusvõimendi 1985-92 kokku 34 896
25AS 021 - akustiline süsteem 1985-90 kokku 73 398
RAHU - raadiosuveniir 1986-92 kokku 238 331
ESTONIA-001-C - laserplaadimängija 1987-89 kokku 2454


REGATT, 1980. aasta olümpiamängude
purjeregati puhul toodetud suveniirvastuvõtja.
Omanik: urti[ät]hot.ee - Raadiomuuseum
  
RAHU 87 (maakaardiga), RAHU 87 (tähekaardiga) ja RAHU (elektroonilise kellaga) suveniirvastuvõtjad.
Omanikud: Zenonas Langaitis, Leedu; elravel[ät]hot.ee; Sergei Frolov
Zenonas Langaitis - Radiomuseum
www.rk86.com/frolov

  

Punase-RETi tehase juubelimärgid. Kokku 5 märki, 1960-1985 (välja arvatud 1970).
Anti tehase töölistele ja veteranidele.
Vasakul: märgid Vassili Rõbini kogust; paremal: heiki.ahonen[ät]mail.ee



          

Vasakul Punase-RETi tehasemärgid. Paremal Punase-RETi suveniirmärgid, mida jagati näiteks näitustel, koostööpartneritele, külalistele.
Esimene: heiki.ahonen[ät]mail.ee; ülejäänud märgid Vassili Rõbini kogust



       

Vasakul Punase-RETi tööveterani märk. Paremal Punase-RETi mälestusmedal "Võetakse töölisklassi ridadesse", mida anti noortele töötajatele.
Märk ja medal Vassili Rõbini kogust



raadiotuba[ät]hot.ee